
联体振动电机简介:
CZZY系列联体振动电机是在YZO振动电机的基础上进行了优化设计,两电机联接为一体,做直线运动。联体振动电机具有:性能可靠、占用空间小、维护简单,使用寿命长等优点。
联体振动电机的使用与维护:
1、两电机联为一体,相对运转。
2、将直线自振源安装在振动电机上,地脚螺栓采用防松动装置,以防螺栓松动,导致电机损坏。
3、安装完毕试运行2~4小时,待一切正常后,方可投入使用。
4、定期对轴承进行保养补充适量的润滑脂,注油量一般为轴承空腔的1/3至2/3即可,不得过量。
5、应参照《三相异步振动电机使用维护说明书》定期对电机进行维护和保养。
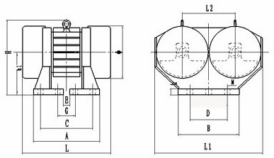
联体振动电机平面图:
联体振动电机规格 与参数:
振动电机型号 | 激振力(KN) | 功率(KW) | 电流(A) | 主要结构尺寸(mm) | 重量(kg) | ||||||||||||||
L | L1 | L2 | H | A | B | C | D | E | F | G | h | h1 | ф | n-ф | |||||
CZZY-2X5-4 | 2X5 | 2X0.4 | 2X1.15 | 340 | 420 | 210 | 280 | 240 | 220 | 190 | 160 | 150 | 120 | 120 | 18 | 148 | 172 | 4-18 | 56 |
CZZY-2X8-4 | 2X8 | 2X0.75 | 2X1.84 | 409 | 531 | 255 | 341 | 320 | 310 | 240 | 240 | 160 | 120 | 120 | 24 | 185 | 213 | 6-28 | 133 |
CZZY-2X17-4 | 2X17 | 2X0.75 | 2X1.8 | 440 | 530 | 260 | 370 | 326 | 300 | 256 | 184 | 166 | 120 | 120 | 30 | 210 | 260 | 6-28 | 160 |
CZZY-2X8-6 | 2X8 | 2X0.75 | 2X1.84 | 409 | 531 | 255 | 341 | 335 | 310 | 240 | 240 | 152 | 120 | 120 | 22 | 185 | 213 | 6-28 | 140 |
CZZY-2X12-6 | 2X12 | 2X1.0 | 2X2.1 | 460 | 530 | 260 | 370 | 326 | 300 | 256 | 184 | 166 | 120 | 120 | 30 | 210 | 260 | 4-28 | 149 |
CZZY-2X20-6 | 2X20 | 2X2.0 | 2X4.1 | 498 | 650 | 320 | 417 | 370 | 380 | 280 | 260 | 172 | 120 | 120 | 35 | 235 | 303 | 4-31 | 306 |
CZZY-2X30-6 | 2X30 | 2X2.5 | 2X5.75 | 600 | 650 | 320 | 435 | 446 | 380 | 356 | 260 | 248 | 130 | 120 | 35 | 235 | 303 | 6-31 | 345 |
CZZY-2X50-6 | 2X50 | 2X3.7 | 2X7.4 | 625 | 775 | 390 | 495 | 404 | 384 | 340 | 210 | 56 | 130 | 120 | 35 | 270 | 380 | 8-28 |
产品名称: | |
联系人: | |
电话: | |
地址: | |
邮箱: | |
备注: | |
验证码: |
|
电话:0373-3690129
联系人:高经理
手机:13503732180
邮箱:xddj2006@126.com
地址:新乡市牧野区善河村工业园2号